椭圆导轨-动画,工作,应用
椭圆卡尺又称阿基米德卡尺、无所事事机、椭圆仪。
阿基米德规是一种能产生椭圆形状的机构。它由两架被限制在垂直通道或轨道上的航天飞机和一根杆子组成,这根杆子通过杆子上固定位置的枢轴连接到航天飞机上。当穿梭机来回移动时,每个穿梭机都沿着自己的通道移动,杆的末端沿椭圆路径移动。椭圆的半轴a和半轴b的长度等于从杆的末端到两个支点的距离。
椭圆仪是阿基米德用来在木头或其它薄板上绘制、切割或加工椭圆的工具。椭圆仪有适当的仪器(铅笔,刀,路由器等)连接在杆上。通常距离a和b是可调的,这样椭圆的大小和形状就可以改变。
这样的椭圆仪的历史是不确定的,但他们被认为可以追溯到Proclus甚至阿基米德的时间。
木制的阿基米德束缚绳也被制成玩具或新奇的物品,并以肯塔基无所事事、无所事事的磨床或无所事事的机器的名义出售。在这些玩具中,绘图仪被曲柄柄所代替,并且滑动梭的位置通常是固定的。
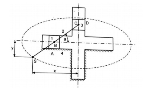
由于椭圆规由两个转动副和两个滑动副组成,它是双滑块曲柄链的反转。这台仪器是用来画椭圆的。这种反转是通过固定一个开槽板(链接4)得到的,如图所示。它有两个直角的槽切进它。1-2是转动副2-3是转动副1-4是滑动副3-4是滑动副。
椭圆卡尺动画短片:
椭圆规的应用:
用于机械加工中的自动换刀。
- 椭圆网是用来画大椭圆的。
- 它们可以用来绘制较小的椭圆,但一次只能绘制一半,必须颠倒来绘制完整的椭圆。








