集砂抛砂车的设计与制造-机械工程188金宝搏怎么样
摘要
原砂清砂分离工艺是施工领域中重要且耗费人力的工序之一。原料砂的收集和转移需要大量的人力,还包括分离过程。在我们的项目中,我们决定设计和制造使用输送系统的集砂抛砂车,从而减少了执行上述集砂和分选任务的人力。输送机由桶携带沙子在原始状态,转移到吊环表与直流电机振荡,由于这种纯沙子被分离分离得到收集在不同的托盘安排从那里得到用于使用完整的应用程序。粗砂收集在抛石台的顶部部分,并为收集这种废砂提供了单独的安排。在该系统的帮助下,大大减少了大量工人的工作量,使系统操作简单,是一种高效的工作模式。
介绍
混凝土是世界上应用最广泛的通用建筑材料。近年来,混凝土技术取得了长足的进步,混凝土强度得到了经济上的提高。这种经济发展依赖于对当地可用材料的合理利用。常规混凝土的重要组成部分之一是天然砂,这是昂贵和稀缺的。传统上,混凝土是水泥、沙子和骨料的混合物。由于使用的骨料强度的变化,混凝土的强度有很大的变化。由于日益增长的建筑活动对天然沙子的巨大需求,自然沙子的稀缺迫使人们寻找合适的替代品。最便宜和最简单的方法来替代天然的沙子是通过粉碎天然的石头得到所需的大小和级别的人造沙子,这将是没有任何杂质的。“筛分是除去从河岸挖出的沙子中相对较大的沙粒和其他不必要的杂质的过程”。筛选是筛选过程中最重要的一个环节。 Gravels and pebbles are separated from the required of sand. Due to screening of sand, we can give good strength to the concrete and improve quality of sand. Screening is used for getting good result and obtaining following sand specifications.
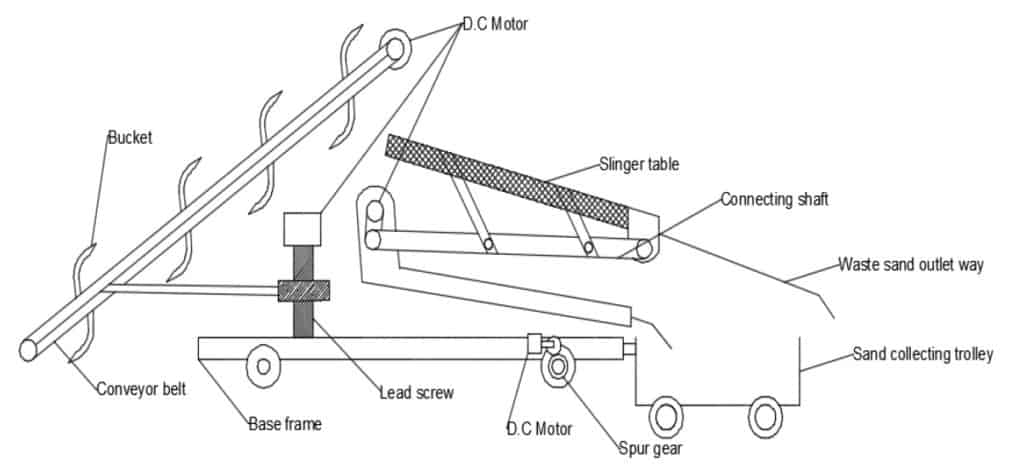
2d采用输送系统的集砂抛砂车布置
工作原理
在这种布置中输送机系统起着重要的作用,集砂桶被固定在输送机的输送带上,通过丝杠布置来调整输送机的位置,以便在较深的部位进行集砂。抛砂台有一种布置,用来收集从输送机上收集到的砂,并对抛砂台进行振动,以便将纯砂和生砂分离。纯砂和不纯砂有单独的收集安排。当电机启动,然后输送机开始旋转,通过调整输送机的位置,它收集的沙子,并将它转移到振动托盘,在那里它得到分离,纯形式的沙子收集在收集托盘。
优势
- 建筑很简单。
- 维护是容易的。
- 人工成本要求更少。
- 效率高于手工加工。
- 得到杂质较少的砂子。
- 混凝土的强度提高了。
应用程序
- 我们可以在劳动力资源不足的地方使用这台机器。
- 它适用于空间面积较小的地方。








